斜め穴を持つゲージの高精度設計のポイント 1
Before
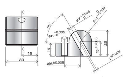
加工穴に対し平面が斜めとなっている部分は加工が難しく、精度を出すことが困難である。

平面や曲面と角度を持って交差するような斜めの穴を持つ精密ゲージは、各部相対関係の考慮が必要になります。具体的には斜め穴を加工する際の固定、位置決めの基準点・面が存在しないため加工が難しくなります。このように加工の基準となる面の有無により加工品質、納期に影響が出ます。
After
加工穴に対し垂直な平面形状を設けることで、斜め穴の位置が割り出しやすくなり、加工精度を上げることが可能になる。

斜め穴を持ち加工の際の位置決めが難しい精密ゲージ等においては、検証上必要でない箇所について形状を変更します。上図の例では最も位置決めが難しい斜め穴に対し垂直な平面形状を設けることで、加工精度を上げ、検証に必要な部分精度を向上させることができ、納期短縮にもなります。
精密ゲージにおいて、斜め穴のような加工は角度や加工位置の目安となる基準面を設けることが加工品質・納期に大きく影響を与えます。斜め穴の場合は、検証部分と関係の無い部分について、穴に対して垂直な面を設定することで精度を上げ、納期短縮が可能になります。